Apple punta sull’universo dei feedback tattili. E non lo si nota solo da Apple Watch, con le sue funzioni definite “emozionali”, ma anche da un nuovo e promettente brevetto: la società di Cupertino ha registrato uno speciale display deformabile, in grado di riprodurre la sensazione di tasti e pulsanti sotto le dita dell’utilizzatore.
Parte di questo brevetto è forse già stata applicata proprio in Apple Watch, il cui schermo è capace di registrare anche l’intensità della pressione oltre al movimento delle dita, sebbene non fornisca però un preciso feedback tattile. La proposta odierna è tuttavia ben più complessa e, per un certo verso, futuristica.
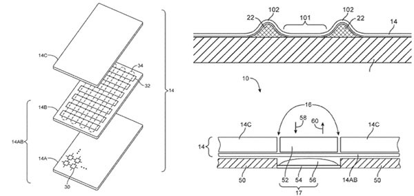
Stando a quanto rivelato, Apple avrebbe progettato un display in un materiale malleabile, affinché possa sollevarsi durante l’utilizzo. Tramite un complesso sistema di attuatori posti sotto il pannello, lo schermo stesso viene modellato per riprodurre tasti e pulsanti, così da rimandare una sensazione fisica per oggetti in realtà virtuali. Inoltre, questo particolare materiale ospiterebbe anche microfono e altoparlanti integrati, sia per rendere i dispositivi più resistenti all’acqua, che per completare il feedback sensoriale con precise vibrazioni sonore.

Schermo tattile, brevetto Apple
Proprio come già avviene in Apple Watch, un simile pannello sarà sensibile sia al tocco che alla pressione, spianando così la strada a un nuovo gruppo di gesture e a un’interazione completamente rinnovata con l’utente. Per ottenere l’effetto di deformazione, invece, si farebbe ricorso a degli speciali motori di vibrazione o piezoelettrici, sebbene il brevetto non entri nel dettaglio delle loro caratteristiche, forse anche per evitare furti dalla concorrenza.
Come ogni presentazione Apple all’US Patent & Trademark Office che si rispetti, non è dato sapere se la società californiana includerà questa tecnologia in un dispositivo realmente esistente, così come non sono ipotizzabili le date d’apparizione sul mercato. Nel frattempo, però, si può già scommettere su quale sia il terminale designato: date le premesse, non potrà che essere la seconda generazione dell’orologio intelligente.