Apple brevetta l'eye-tracking per iOS e OS X

Apple brevetta un singolare sistema per monitorare lo sguardo dell'utente, così da aggiungere nuove funzioni alle versioni di iOS e OS X del futuro.
Apple brevetta un singolare sistema per monitorare lo sguardo dell'utente, così da aggiungere nuove funzioni alle versioni di iOS e OS X del futuro.
Apple brevetta l'eye-tracking per iOS e OS X

I Mac e gli iPhone del futuro saranno in grado di interpretare lo sguardo dell’utente, per associare ai movimenti degli occhi speciali funzioni. È quanto emerge dall’ennesimo brevetto concesso ad Apple, così come da pubblicazione presso l’U.S. Patent and Trademark Office. Quando questa tecnologia verrà implementata, e soprattutto se verrà tradotta in un prodotto reale, non è ancora dato sapere.

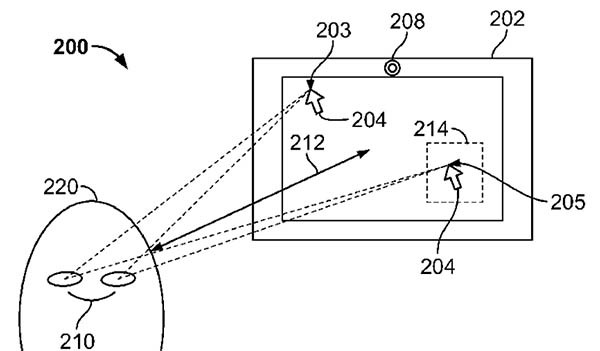
Il brevetto risale al 2012 e illustra una tecnologia di eye-tracking, ovvero di monitoraggio dei movimenti oculari dell’utilizzatore. Ad esempio, il sistema può essere sfruttato affinché il cursore segua sempre lo sguardo dell’utente, affinché quest’ultimo non perda tempo nel ricercarlo a schermo.

Per raggiungere questo obiettivo, i Mac e gli iDevice coinvolti saranno dotati di una speciale videocamera, capace di tradurre il movimento degli occhi in uno spostamento a video del cursore. Sebbene il brevetto non entri pienamente nel dettaglio del funzionamento, l’invenzione si baserebbe sulla teoria delle illusioni ottiche.

Così come descritto nella registrazione, l’utente spesso perde cognizione della posizione del cursore a causa dell’effetto Troxler, un’illusione ottica che causa la scomparsa dei dettagli periferici di una scena quando la vista è focalizzata su una specifica area. Ad esempio, mentre l’utente fissa il centro dello schermo per leggere un testo, il cursore posizionato ai lati semplicemente scompare, con la conseguenza di una noiosa distrazione per scovarne nuovamente la precisa posizione.

Eye-tracking secondo Apple

Eye-tracking secondo Apple

Per contrastare l’effetto Troxler, la tecnologia sviluppata da Apple analizza i movimenti dell’occhio e la chiusura delle palpebre, per elaborare una stima sulla possibile riduzione della visione periferica e, quindi, la scomparsa del cursore. Anticipato il consumatore, a schermo potrebbero essere mostrati degli elementi grafici in rapido spostamento, affinché anche la vista laterale rimanga perfettamente attivata.

Come già anticipato, non è affatto scontato che Cupertino trasformi questo brevetto in un prodotto vero e proprio. E considerato come dal 2012 a oggi non ve ne sia stata traccia, l’invenzione firmata David P. Julian non verrà forse realizzata in tempi brevi. Per molti esperti, tuttavia, quella dell’eye-tracking sarà la feature di punta per le versioni di iOS e OS X attese in un immediato futuro.

Ti consigliamo anche

Link copiato negli appunti
Change privacy settings
×