Una penna smart per trasformare gli appunti scritti a mano in digitale. L’idea non è certamente nuova, poiché nell’ultimo anno diverse aziende hanno lanciato simili prodotti sul mercato, ma nonostante questo Apple ha ottenuto la registrazione di un brevetto presso il Patent and Trademark Office statunitense. Cosa differenzia il dispositivo Apple da quello dei competitor?
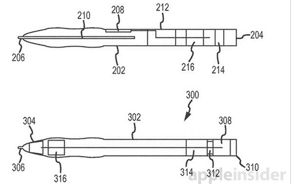
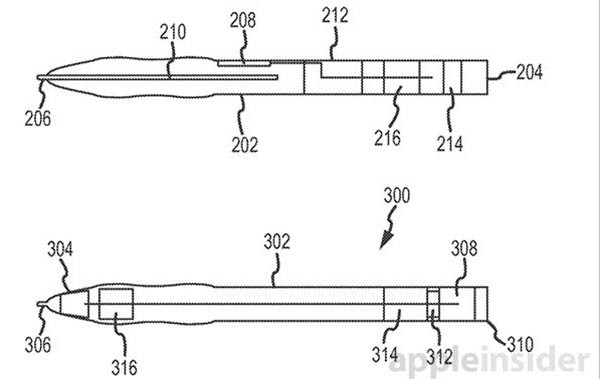
Il brevetto, intitolato “Stilo Comunicante”, svela una penna in grado di riprodurre in digitale quel che viene scritto a mano, grazie alla combinazione di un accelerometro, una connessione wireless e altri sensori di movimento. Come già accennato, nulla di prettamente nuovo sul mercato, ma si tratterebbe di un dispositivo più efficiente rispetto a quelli della concorrenza.
Solitamente le penne smart fanno ricorso ad appositi sensori e fotocamere agli infrarossi per riprodurre su schermo il movimento della mano. Questo processo può richiedere in alcuni casi l’utilizzo di una carta speciale, affinché non sia troppo riflettente rendendo così l’operazione impossibile, nonché un foglio di lavoro di dimensione adeguate. Difficile, infatti, con questi strumenti trasportare in digitale scritte molto piccole. Apple cerca di superare questi limiti.

Grazie ai sensori di movimento, la penna si attiva solamente quando sollevata dalla superficie su cui è adagiata. Questo momento segna il cosiddetto “punto zero”: l’hardware quindi calcola lo spostamento spaziale per tradurre i movimenti in scrittura. Un ulteriore sensore di pressione, infine, permette di discriminare tra i tratti effettivamente scritti e gli spazi. Un simile sistema, che non si basa sul tracking ottico della penna, è sensibile alle minime variazioni spaziali, permettendo così di utilizzare lo strumento su qualsiasi tipo di superficie, nonché per riproduzioni anche di dimensioni molto piccole. Non ultimo, la stilo smart può trasmettere quanto di prodotto a più dispositivi contemporaneamente, grazie alla connettività di cui è dotata.
Così come sottolinea AppleInsider, le possibilità che il brevetto venga tradotto in un prodotto reale rimangono comunque molto basse. Cupertino ha sempre rifiutato penne e pennini da abbinare ai suoi iDevice, poiché ha deciso di puntare sulla precisione millimetrica del multitouch, la stilo potrebbe quindi andare a cannibalizzare questi sforzi. Non resta che attendere i prossimi passi dell’azienda: il 2015 porterà una penna targata mela morsicata?