Tra le tante feature dei laptop targati mela morsicata, il trackpad multitouch è certamente uno dei fattori di punta. Il suo liscissimo vetro, la precisione e la reattività, il nugolo di gesture pensate per gestire rapidamente OS X, lo scorrimento a due o più dita: utilizzare un MacBook garantisce quella stessa comodità tattile di un device touchscren come iPhone o iPad, tanto da non far sentire affatto la mancanza di un mouse. E mentre la concorrenza non ha ancora proposto un trackpad che eguagli quello di Cupertino, sebbene siano diversi i produttori decisi ad avvicinarvisi, Apple pensa già a una futura rivoluzione.
Stando a un nuovo brevetto depositato all’US Trademark And Patent Office, il numero 8.633.916 per la precisione, Apple vuole modificare l’attuale trackpad aggiungendo un sensore di forza e un sistema per garantire un feedback sensoriale all’utente. Nel primo caso, in buona sostanza, vi sarà l’eliminazione della meccanica del click, ancora presente sulla versione attuale sebbene il ricorso sia del tutto facoltativo. Nel secondo, invece, si parla di una metodologia per riprodurre la sensazione di interagire con pulsanti fisici, anziché con una superficie liscia.
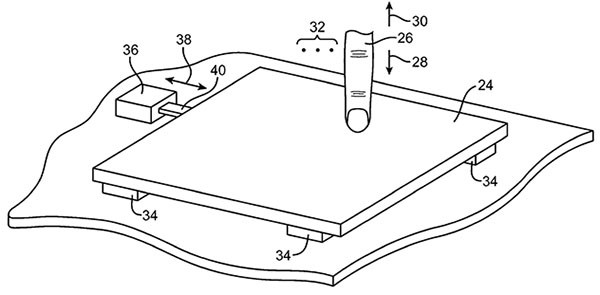
Il trackpad oggi montato su tutta la famiglia MacBook prevede un sistema di pressione meccanico: per chi lo desidera, perché dalle Preferenze di Sistema è possibile abilitare anche il semplice click touch, l’intero corpo della area si abbassa alla pressione, riproducendo anche il tipico suono che Cupertino calibra da decenni come proprio marchio di fabbrica. Questa soluzione potrebbe tuttavia ridurre l’immediatezza d’uso del consumatore, così come si legge nel brevetto, e potrebbe essere sostituita da quattro sensori di forza posti agli angoli del trackpad. Con questo sistema, il trackpad sarebbe quindi fisso ma in grado di registrare la pressione dell’utente per intercettare un click. Vi sono anche delle alternative all’impiego di sensori piezoelettrici, come l’analisi delle onde sonore o del rimbalzo della luce.

Brevetto del trackpad
Per quanto riguarda il feedback sensoriale, Apple starebbe pensando a un sistema di attuatori in grado di modificare leggermente la flessibilità e l’orientamento del trackpad ai movimenti delle dita dell’utente, così da riprodurre la sensazione di interagire con un tasto fisico. Questo feedback potrebbe essere accompagnato anche da un avviso sonoro – quel “click” tipico della Mela a cui si è fatto riferimento poc’anzi – riprodotto non più meccanicamente ma con l’inclusione di speciali altoparlanti nei trackpad stessi. Gli attuatori saranno in grado di mimare una forza fisica sulla superficie piana dell’area di tocco – una vibrazione, forse, oppure un effetto a rimbalzo – rendendo la risposta del sistema operativo all’utente più comprensibile. Come tutti i brevetti Apple, non è dato sapere se il proposito verrà tradotto in un prodotto reale né quando sarà implementato.