Amazon presto potrebbe iniziare a spedire i prodotti ancora prima che siano stati ordinati dai clienti per accelerare i tempi di consegna. L’azienda di Seattle, nel mese di dicembre, ha infatti depositato un brevetto chiamato “anticipatory shopping” in cui è illustrata una particolare tecnica con cui è possibile iniziare a spedire un prodotto ancora prima che esso sia stato effettivamente comprato.
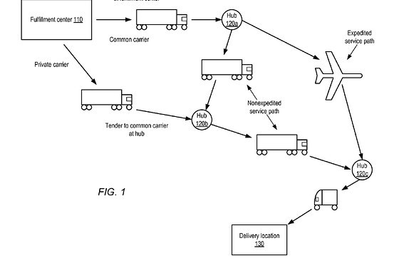
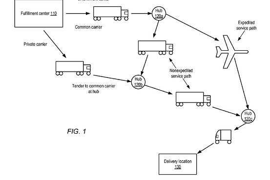
Amazon andrebbe a sfruttare il suo ampio database di dati di vendita per prevedere tendenze e gusti dei suoi clienti. In questo modo sarebbe in grado di anticipare i loro acquisti ipotizzando che una certa tipologia di prodotti potrebbe essere acquistata da precisi clienti in un dato luogo. Grazie a questo complesso calcolo, Amazon invierebbe in anticipo i prodotti selezionati al centro di spedizione più vicino a questa tipologia di clienti. Non solo, perché saranno preparate etichette di spedizione precompilate con i dati generici dei destinatari che saranno completate con i dati dei clienti finali durante le spedizioni.
Una tecnica di consegna predittiva che sa molto di futuristico ma che a differenza delle spedizioni tramite droni, ipotizzata sempre da Amazon poco tempo fa, potrebbe arrivare molto presto. Del resto, Amazon sta lavorando da molto tempo alla riduzione dei tempi di consegna che sono il vero freno alla diffusione alle vendite online con i clienti spesso spaventati dai lunghi tempi di attesa per la ricezione di quanto acquistato.
Tuttavia, per quanto sofisticato possa essere l’algoritmo che andrà ad ipotizzare le richieste dei clienti, non sarà infallibile e questo potrebbe portare al contrario ad un aumento dei costi con Amazon impegnata a dover spedire dalla sede centrale altre tipologie di prodotti, vanificando i vantaggi della consegna predittiva.
Ecco che Amazon, nel su brevetto, sottolinea come questo metodo possa funzionare prevalentemente con i prodotti di grande richiesta come per esempio i libri o tutti quegli oggetti che sono molto attesi e che i clienti vogliono ricevere immediatamente.
Bocche cucite sull’eventuale debutto in breve tempo di questo innovativo metodo di consegna, ma se davvero dovesse arrivare, Amazon andrà a rivoluzionare nuovamente il settore dell’eCommerce.
