Un brevetto singolare si aggiunge alla lunga schiera di registrazioni a marchio mela. Così come da documenti pubblicati dall’US Patent and Trademark Office ieri, Apple ha teorizzato la produzione di un tasto Home per iPhone che, all’occorrenza, possa trasformarsi in un pratico joystick. Le possibilità che il progetto si traduca in un prodotto reale sono, però, molto remote.
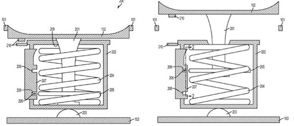
Ribattezzato “Dispositivo di input multifunzione”, il tasto Home in questione può sollevarsi dalla sua sede per trasformarsi in un controller di direzione, del tutto simile a quelli in uso sulle console di gaming. Per accedere a questa possibilità, l’utente non deve far altro che premere in profondità sul pulsante, attivando così un sistema di sollevamento a molla.
Questo improvvisato joystick, con un profilo comunque molto ridotto per non intaccare l’estetica canonica di iPhone, mantiene intatte le sue funzioni tradizionali. Non è ben chiaro, invece, se possa risultare compatibile anche con il lettore di impronte digitali Touch ID, anche perché il brevetto è antecedente alla sua introduzione sul mercato. La prima sottomissione risale all’inizio dell’estate del 2013, mentre il primo iPhone dotato della tecnologia di scansione è stato presentato a settembre dello stesso anno.

Tasto Home e Joystick
Si tratta, senza troppi dubbi, di un progetto che strizza l’occhiolino all’universo di App Store e dei suoi gamer, considerato come siano proprio i videogiochi i software più popolari sul negozio virtuale targato mela morsicata. E proprio l’azienda ne fa accenno nella documentazione allegata al brevetto, dove si spiega come i videogiocatori siano spesso esitanti nel ricorrere ai controlli touch, data la maggiore difficoltà durante il gameplay.
Come già specificato, è abbastanza improbabile che Apple produca un iPhone dotato di un simile meccanismo, anche poiché la tecnologia di pop-up interno non si sposerebbe pienamente con device ultrasottili, su cui Cupertino sta ovviamente investendo. Si tratta comunque di un tentativo importante, perché svela quanto ancora pulsanti e controlli fisici siano utili per l’interazione con l’utente, nonché quanto ancora vi sia di inesplorato sul fronte del tasto Home.