A tutti è capitato di lanciarsi in un energico headbanging ascoltando un brano rock, oppure di simulare il movimento delle dita su una chitarra durante un assolo. Lo sa bene Samsung, che ha ottenuto la registrazione di un brevetto chiamato “Portable communication device capable of virtually playing musical instruments”, ovvero “Dispositivo di comunicazione portatile in grado di suonare strumenti musicali virtuali”. In altre parole, il device perfetto per tutti coloro che in presenza di riff cedono puntualmente al desiderio di fare un po’ di sano air guitar.
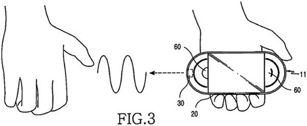
Dalla documentazione, depositata presso USPTO (United States Patent and Trademark Office), emergono alcune informazioni tecniche relative a questa bizzarra proprietà intellettuale. Si fa riferimento a un prodotto, con tutta probabilità un lettore multimediale per la riproduzione di file audio e video, che oltre ai tradizionali pulsanti Play, Pausa, Stop e per la regolazione del volume integra altri comandi e sensori: quattro tasti per simulare i fret di una chitarra, oltre a un accelerometro per captare il movimento delle dita e interpretarlo come scorrimento verso la parte alta o bassa del manico. Infine, un ulteriore sensore è in grado di capire dallo spostamento dell’altra mano se si sta “plettrando” un accordo completo oppure una singola nota come avviene negli assoli. Il tutto con la finalità di sovrapporre al brano ascoltato le note suonate dall’utente.

Un’immagine dalla documentazione Samsung per il brevetto relativo al “lettore multimediale con air guitar”
Nessuna informazione, almeno per il momento, sul possibile esordio di un dispositivo simile. Samsung se ne è comunque assicurata la paternità della tecnologia. Se mai un giorno il gruppo sudcoreano dovesse lanciare sul mercato un lettore di questo tipo, camminando per strada potrebbe succedere di assistere a scene come quella mostrata nel filmato seguente: ecco Justin “Nordic Thunder” Howard, campione del mondo 2012 di air guitar.
[youtube]ddee_eQCMA4[/youtube]