Secondo quanto affermato da Boeing, riducendo di soli dieci minuti il tempo trascorso dai velivoli negli scali per le operazioni di imbarco, carico e scarico, si otterrebbe un incremento pari all’8,1% nel numero dei voli effettuati ogni anno da un aereo. In termini economici, questo si tradurrebbe per una compagnia in una differenza pari a milioni di dollari ogni mese. Non è dunque difficile capire la natura di un nuovo progetto messo in campo da Airbus.
A svelarlo è una proprietà intellettuale depositata presso USPTO (United States Patent and Trademark Office), con la documentazione sottoposta alla commissione nel 2013 e approvata solo nei giorni scorsi. In estrema sintesi, si fa riferimento ad un aereo modulare, in cui la cabina che contiene i passeggeri può essere staccata dal resto del mezzo una volta giunto a destinazione e sostituita rapidamente con un’altra che al suo interno ospita già i nuovi viaggiatori. Lo stesso vale per i bagagli e la merce trasportata. L’obiettivo è dunque quello di tagliare i tempi morti, ottimizzando l’operatività della flotta.
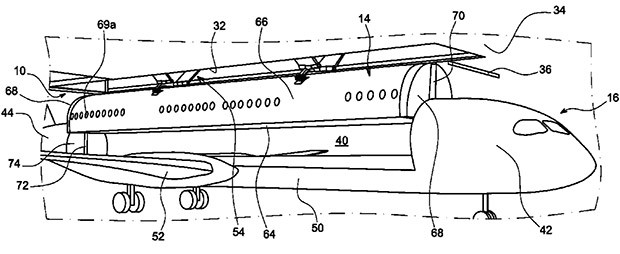
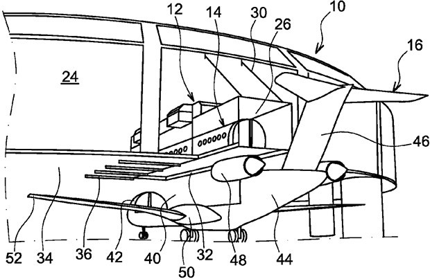
L’immagine qui sopra mostra in modo piuttosto chiaro il funzionamento del sistema che, va ricordato, al momento è contenuto esclusivamente all’interno di un brevetto. Sotto, invece, quello che costituirebbe l’impianto dedicato alla rimozione e alla sostituzione del modulo, che richiama alla mente quelli impiegati in ambito portuale per la movimentazione dei container.
Sempre stando allo studio condotto da Boeing, per ogni passeggero imbarcato le compagnie aeree generano mediamente un profitto pari a 8,27 dollari. È questo un altro dei motivi che spingono le aziende ad offrire l’acquisto di prodotti durante il volo e a ridurre sempre più la distanza spazio che separa i sedili. Sempre Airbus, il mese scorso, ha depositato un altro brevetto in cui si ipotizza la sistemazione dei viaggiatori addirittura sfruttando lo spazio in verticale, impilandoli uno sopra l’altro.

