Apple guarda al futuro, e lo fa in grande. Il colosso di Cupertino, che nella giornata di ieri ha reso noti i risultati del terzo trimestre fiscale senza regalare sorprese esorbitanti e anzi qualche perplessità in borsa e tra gli esperti del settore, ha ottenuto un brevetto presso l’U.S. Patent and Trademark Office per una tecnologia a dir poco futuristica, cui intento è quello di collegare esseri umani ai computer tramite sensori, touchscreen e guanti per la realtà virtuale. Patently Apple lo definisce a ragione un brevetto singolare, selvaggio e folle, dato che promette la più vasta possibilità di applicazioni che si sia mai vista prima nel settore.
«Stay Hungy, stay foolish». E brevetta il tutto.
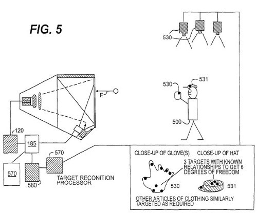
Le potenzialità di questa tecnologia, definita 5D, si sprecano: dal gaming interattivo (ben oltre le rispetto le possibilità garantite oggi da Kinect e Wii) alle video conferenze fino a passare alla capacità di riconoscere anche i più complicati gesti dell’utente, nel brevetto descritto da Apple si parla veramente di tutto. Secondo la mela morsicata la tecnologia in futuro sostituirà le tastiere con nuove interazioni. Inoltre, il materiale utilizzato per il display può essere in Kevlar, con campi di applicazione estesi anche ai poligoni di tiro, visto che la tecnologia potrà calcolare la velocità e la forza dei proiettili esplosi dall’utente.
E non finisce qui, perché la tecnologia 5D non si limita allo schermo ma può permettere all’utente di interagire con oggetti non presenti fisicamente nella stanza. Una sorta di Kinect insomma, evoluto però all’ennesima potenza. Il brevetto fornisce in sintesi un quadro interessante sul possibile avvenire dei prodotti Apple, resta da vedere se la tecnologia avrà reali possibilità di applicazione sul mercato. Non tutti i brevetti diventano realtà, infatti, ma segnano comunque una direzione descrivendo il campo delle ricerche e degli esperimenti di un gruppo.
