Apple lavora a indicatori di stato sempre attivi per iPhone

Apple lavora a indicatori di stato sempre attivi per iPhone

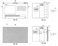
AppleInsider ci segnala che Apple sta lavorando per rendere possibile la visualizzazione di piccole icone di stato, senza intaccare sensibilmente l’autonomia della batteria.

Il tutto viene reso possibile con una retroilluminazione secondaria che, posta sotto la principale, può essere attivata indipendentemente dallo stato dello schermo. La principale può bloccare la luce emessa dalla secondaria, ad eccezione delle aree che costituiscono la forma dell’indicatore di stato.

La soluzione, studiata appositamente per iPhone e recentemente depositata allo “United States Patent and Trademark Office”, permette quindi di aggiungere le notifiche a schermo senza che lo schermo sia acceso e quindi senza compromettere la durata della batteria già messa a dura prova dal 3G.

Non è chiaro se la soluzione sarà poi utilizzata anche nei Mac.

Se vuoi aggiornamenti su Apple inserisci la tua email nel box qui sotto:

Compilando il presente form acconsento a ricevere le informazioni relative ai servizi di cui alla presente pagina ai sensi dell'informativa sulla privacy.

Ti consigliamo anche

Link copiato negli appunti