Dopo l’arrivo di OPPO Find N che ha svelato al mondo come sia possibile contrastare lo strapotere di Samsung nel settore dei foldable utilizzando un po’ di ingegno e di coraggio, in queste ore un inedito brevetto di Motorola mostra un singolare flip phone evidentemente pensato per competere contro la serie Galaxy Z Flip di Samsung e anche per voltare pagina rispetto al triste esperimento che prende il nome di Motorola RAZR.
Cosa ci svela questo singola brevetto di Motorola su un nuovo flip phone?
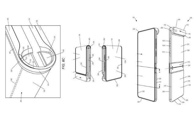
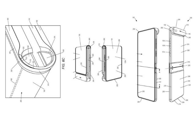
Il database del WIPO (World Intellectual Property Organisation) svela che il colosso hi-tech starebbe lavorando a uno smartphone a conchiglia con un sistema di chiusura piuttosto inedito. Il display, infatti, invece di chiudersi verso l’interno, abbraccia l’esterno del display regalando così all’utente uno smartphone munito di un pannello touchscreen completamente avvolgente.

Oltre alla singolare scelta di design, il brevetto mette in evidenza anche una nuova cerniera orizzontale sviluppata per ridurre al minimo la piega del pannello. Sappiamo che OPPO ha investito anni di ricerca per realizzare un sistema di chiusura in grado di nascondere la piegatura del display all’occhio dell’utente: evidentemente Motorola sta studiando una soluzione simile.
Il brevetto, per quanto interessante, non ci svela se e quando il device verrà effettivamente presentato. È probabile che l’azienda stia studiando varie soluzioni per la nuova generazione di flip phone che potrebbe anche essere completamente differente da quella mostrata nei disegni tecnici. L’unica certezza è che Motorola non ha gettato la spugna e sta studiando le mosse migliori per tornare nel mondo dei foldable con un device vincente.