Il Galaxy S9 potrebbe avere un lettore di impronte frontale, ma senza il tradizionale pulsante fisico. Nella documentazione allegata ad un brevetto depositato in Corea viene descritto il sistema di autenticazione biometrica e mostrata la posizione del sensore. Altre indiscrezioni sul futuro smartphone riguardano il processore e la possibile presenza di una NPU (Neural Processing Unit).
L’uso del cosiddetto Infinity Display ha comportato l’eliminazione del pulsante Home e lo spostamento del lettore di impronte sul retro del dispositivo. La posizione scelta per il Galaxy S8 [amazon asin=B06XWB84Q7] è piuttosto scomoda e l’utente rischia di sporcare la lente della fotocamera (problema parzialmente risolto con il recente Galaxy Note 8). Il noto analista Ming-Chi Kuo di KGI Securities ipotizza che il primo smartphone con lettore in-screen sarà il Galaxy Note 9. Ciò potrebbe invece avvenire con il Galaxy S9, se la tecnologia descritta nel brevetto verrà applicata in tempi brevi.

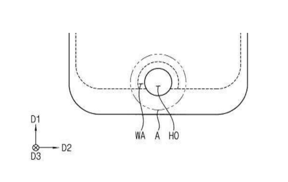
L’immagine allegata mostra un piccolo cerchio posizionato tra la cornice inferiore e lo schermo, quindi Samsung dovrebbe inserire il lettore di impronte digitali in una piccola area ritagliata nel pannello Super AMOLED, in modo simile alla fotocamera frontale di Essential Phone. Ovviamente non è detto che il brevetto venga realmente applicato. Ci sono invece maggiori certezze sulle specifiche: i Galaxy S9/S9+ avranno probabilmente un display da 5,8 e 6,2 pollici, processori Snapdragon 845 e Exynos 9810, 6 GB di RAM, doppia fotocamera posteriore e riconoscimento facciale 3D.
Samsung ha recentemente investito in una tecnologia IA sviluppata da un’azienda cinese. Ciò potrebbe portare alla realizzazione di un chip dedicato all’elaborazione degli algoritmi di machine learning e quindi alla sua integrazione nei prossimi Galaxy S9/S9+. In modo simile alla NPU di Huawei sarà possibile eseguire localmente i calcoli necessari per alcune operazioni, tra cui la scansione 3D dei volti, le traduzioni in tempo reale con Bixby o il miglioramento degli scatti fotografici.