BMW sta pensando ad una soluzione particolarmente innovativa per offrire un sistema di ricarica wireless per le moto elettriche. Un recente brevetto della Casa bavarese, infatti, mette in evidenza una soluzione curiosa ma sicuramente molto intelligente. Notoriamente, una moto elettrica viene ricaricata proprio come un’auto elettrica. Il centauro scende dalla moto e attacca il cavo di ricarica. Una soluzione che sulle due ruote può risultare anche scomoda in alcuni frangenti.
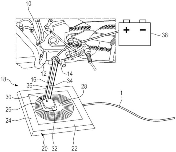
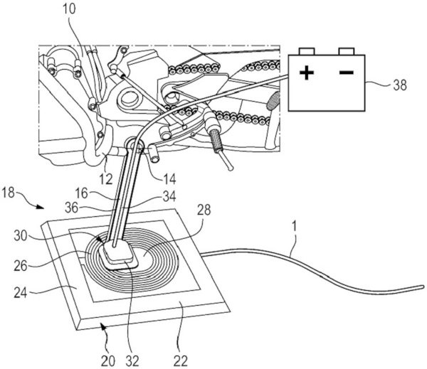
BMW ha pensato ad un modo per eliminare questo passaggio sfruttando il cavalletto laterale della moto ed una piccola piattaforma wireless. Il sistema è molto semplice ma davvero ben pensato. Quando si ferma la moto e si estrae il cavalletto, la sua parte finale, quella che solitamente si appoggia sull’asfalto, viene fatta appoggiare su di una piastra wireless. Grazie ad un sistema ad induzione presente sia sulla piastra che sul cavalletto laterale, è possibile far fluire l’energia elettrica che andrà ad alimentare la batteria di trazione.
Non è chiaro a che potenza possa ricaricare questo sistema ma poter effettuare un “rabbocco” di energia in maniera semplice e rapida senza troppi cavi, magari durante una sosta per fare la spesa o per mangiare al ristorante, potrebbe risultare molto interessante.
Ovviamente trattasi di un brevetto e quindi come tale potrebbe rimanere una semplice idea ma è indubbio che il concetto sia davvero interessante e di “facile” applicazione pratica. BMW si sta impegnando molto nella mobilità elettrica, non solo nel settore delle auto ma anche in quello delle due ruote. Non è detto, dunque, che questa soluzione non possa arrivare, anche perché un qualcosa di simile la BMW lo ha già fatto per un suo modello Plug-In.
Se vuoi aggiornamenti su Motori inserisci la tua email nel box qui sotto:
