L’avvento delle tecnologie applicate all’ambito automotive spalanca le porte ad una serie di funzionalità certamente utili per chi guida, ma che talvolta anziché rappresentare un aiuto in termini di sicurezza rischiano di trasformarsi in una fonte di distrazione potenzialmente pericolosa. Se ad esempio l’utilità dell’interazione vocale con la dashboard è fuori discussione, non si può dire la stessa cosa di altre applicazioni ereditate dall’universo mobile.
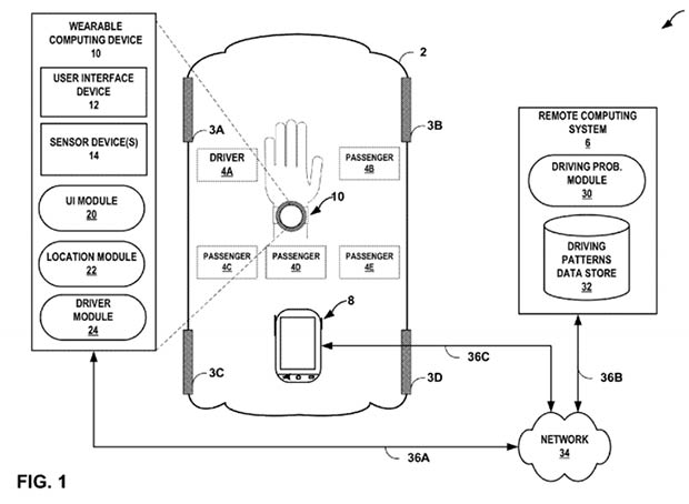
Nel tentativo di trovare una soluzione pratica capace di risolvere il problema alla radice, Google ha escogitato un sistema piuttosto efficace, riassunto nella documentazione di un brevetto depositato presso USPTO (United States Patent and Trademark Office). In estrema sintesi, si tratta di un dispositivo indossabile in grado di riconoscere se l’utente è guidatore o passeggero. La tecnologia potrebbe essere applicata ad esempio agli smartwatch equipaggiati con la piattaforma Android Wear, che attraverso i movimenti del polso catturati da sensori come accelerometro o giroscopio potrebbero stabilire se, ad esempio, la persona ha le mani sul volante oppure se sta cambiando le marce.
In conseguenza, se l’utente sta guidando, verrebbero disattivate nella dashboard funzionalità potenzialmente pericolose da utilizzare, del tutto accessibili invece se si è seduti al posto del passeggero. Si tratta dunque di una sorta d’evoluzione della tecnologia già integrata negli smartphone Android che riconosce quando la persona è in viaggio su un’automobile analizzandone gli spostamenti e mettendo a disposizione funzionalità del tutto automatiche come quella che segnala il luogo del parcheggio, utile soprattutto quando si viaggia in città poco conosciute. Al momento non è dato a sapere se il sistema descritto nel brevetto è destinato a fare il suo debutto in Android Auto o nella piattaforma Android Automotive protagonista nei giorni scorsi di alcune indiscrezioni comparse in Rete.
