Il prossimo Surface Laptop che si chiami Laptop 3 o altro, potrebbe essere caratterizzato da una cerniera differente rispetto all’attuale e molto più resistente. I computer portatili stanno diventando sempre più sottili e leggeri e questo limita alcune scelte di design. Proprio a seguito di queste scelte progettuali, spesso, alcuni componenti possono venire sacrificati in nome del design.
Secondo un nuovo brevetto ottenuto da Microsoft, la società sta lavorando ad una nuova cerniera per un suo futuro Surface Laptop che sia migliore e più resistente ma senza che questo possa andare ad impattare sulle sue dimensioni. In buona sostanza, il gigante del software sembra che stia progettando una cerniera in grado di soddisfare i requisti in termini di design senza che questo possa penalizzarne l’affidabilità nel tempo. Il brevetto era stato depositato già nel 2017 ma soltanto adesso è stato pubblicato da USPTO.
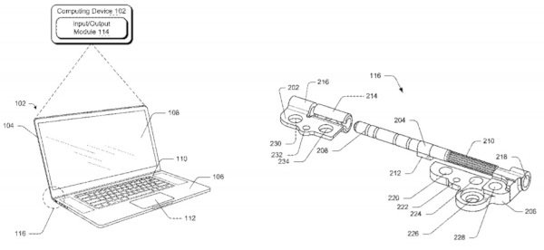
La cerniera del Surface Laptop, come quella di ogni laptop, è pensata per permettere al display di ruotare e di aprirsi e di chiudersi. Il brevetto di Microsoft mette in evidenza una soluzione tecnica molto interessante e soprattutto raffinata. Secondo la descrizione, la cerniera sarebbe composta da un albero a forma cilindrica collegato ad un elemento di attrito pensato per offrire una certa resistenza nelle operazioni di chiusa e di apertura. La cerniera è pensata per mantenere costante nel tempo questa forza di attrito.
Un progetto interessante ma non è dato di sapere se davvero troverà posto sul futuro Surface Laptop 3. Come tutti i brevetti, infatti, non è detto che quanto sviluppato possa effettivamente trovare un’applicazione pratica. L’idea, infatti, potrebbe semplicemente rimanere tale.
Tuttavia, Microsoft è sempre stata attenta allo sviluppo di soluzioni innovative per le cerniere dei suoi Surface e il brevetto dimostra come lo sviluppo di queste parti tecniche non si sia certamente fermato.
