Samsung è pronta a svelare i nuovi pieghevoli Galaxy Z Flip6 e Galaxy Z Fold6 durante il prossimo evento Unpacked che si terrà a Parigi, al Museo del Louvre, il 10 luglio. Insieme agli smartphone pieghevoli, Samsung presenterà anche Galaxy Watch7, Galaxy Watch Ultra, Galaxy Buds3 Pro e un vero e propri oggetto misterioso, il Galaxy Ring. L’anello è stato protagonista di diversi rumor e voci di corridoio, ma nel corso dei mesi informazioni ufficiali hanno sempre latitato da Seoul. Oggi un nuovo brevetto pare aver svelato che accanto al Galaxy Ring potrebbe essere in arrivo un Galaxy Ring 2.

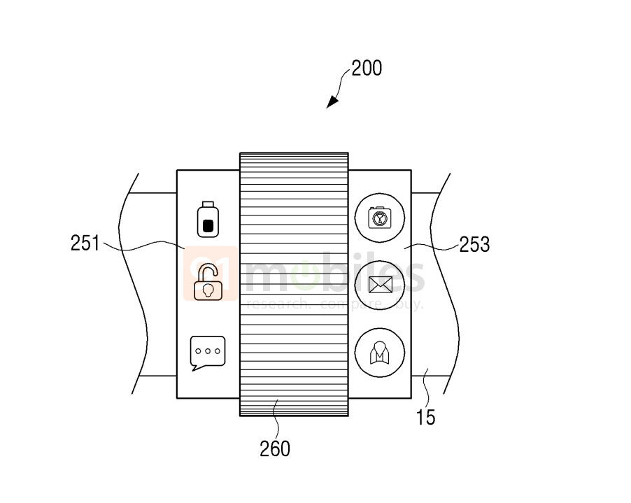
Lo scoop è stato realizzato da 91mobiles scovando un brevetto registrato da Samsung lo scorso maggio. Dai documenti consegnati si evince un design sensibilmente diverso, con una parte esterna squadrata e una parte interna circolare che ospita tutti i sensori. La cosa interessante è che sembra che la parte esterna possa integrare dei piccoli display Oled dove vengono mostrate notifiche dallo smartphone e i report dai sensori. Sensori come ad esempio la saturazione dell’ossigeno, il sensore cardiaco PPG, temperatura e ECG. A livello di connettività nel brevetto vengono citati Bluetooth, Wi-Fi, Zigbee s, NFC and MST per i pagamenti sicuri. Le taglie saranno davvero numerose: ben 27 previste per la Corea e addirittura 65 per gli Stati Uniti. Sembra quindi essere un dispositivo molto diverso rispetto a quello che verrà mostrato tra cinque giorni a Parigi. Se le vendite di questo anello andranno bene, sarà facile capire se questa versione 2.0 raggiungerà gli scaffali o non andrà oltre la fase di brevetto.


