I nuovi Surface Pro e Surface Laptop non dispongono di un connettore di tipo C. Panos Panay, responsabile della divisone Surface di Microsoft, ha spiegato che la società sta adottando un approccio molto cauto sull’adozione delle porte USB Type-C visto che lo standard non è ancora ben chiaro. Tuttavia il futuro va in questa direzione e la casa di Redmond sta studiando una soluzione che permetta l’adozione delle porte USB Type-C mantenendo sempre il connettore magnetico che oggi caratterizza tutti gli ibridi Windows 10 della casa di Redmond.
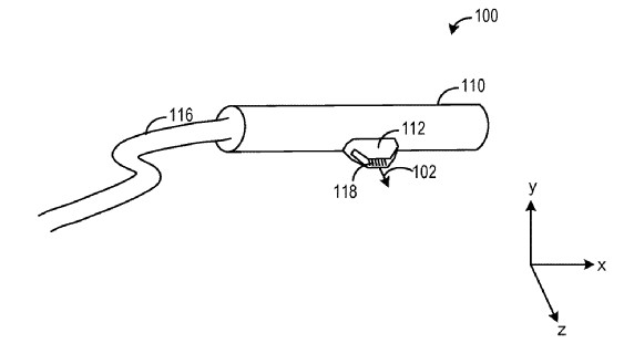
MSPOWERUSER, infatti, ha svelato un brevetto di Microsoft in cui Jan Raken, responsabile del design della divisione Surface, prova ad ipotizzare una variante del connettore magnetico con integrata una porta di tipo C. Il brevetto descrive una soluzione che manterrà il connettore magnetico di Microsoft per alimentare il dispositivo, integrando a sua volta una porta USB Type-C. Purtroppo, il brevetto di Microsoft dice che il connettore supporterà solo le velocità USB 2.0. Ciò potrebbe rendere il nuovo connettore poco utile, specialmente perché la maggior parte delle implementazioni USB-C utilizza le funzionalità USB 3.0 o USB 3.1. Tuttavia, Microsoft potrebbe essere riuscito a implementare le prestazioni dello standard USB 3.0 sulla stessa porta del dispositivo Surface e limitare semplicemente a USB 2.0 il connettore.

Surface, connettore magnetico con USB Type-C
In ogni caso trattasi di un brevetto e se e quando Microsoft adotterà una scelta simile le specifiche tecniche potrebbero essere anche differenti. Il nuovo connettore sembrerebbe anche più piccolo e più sottile rispetto all’attuale.
Difficile immaginare quando la casa di Redmond potrebbe adottare una soluzione simile, forse con i Surface della prossima generazione.