Non è un mistero che Microsoft stia lavorando ad un dispositivo dual screen. Qualche giorno fa era emersa la notizia che il gigante del software avesse mostrato proprio questo prodotto ai suoi dipendenti, segno che lo sviluppo sta procedendo a vele spiegate, tanto che la presentazione ufficiale potrebbe avvenire entro 6 mesi.
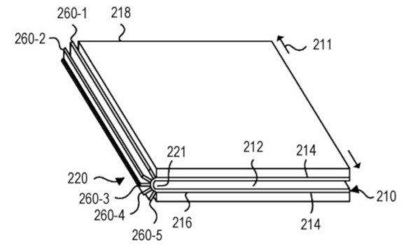
USPTO, United States Patent and Trademark Office, cioè l’ente americano preposto a rilasciare i brevetti, ha concesso a Microsoft un nuovo brevetto proprio relativo ad un dispositivo dual screen. Più nello specifico, il brevetto descrive un display che può essere piegato in due parti e che utilizza una cerniera simile a quella del Surface Book. Una descrizione che corrisponde proprio al design di questo chiacchierato dispositivo che la società sta sviluppando. Indiscrezioni, infatti, affermano che questo prodotto, nome in codice, “Centaurus“, avrebbe un design molto simile al ben noto tablet Courier della società.
Questo brevetto, dunque, potrebbe mostrare a grandi linee proprio il form factor di questo dispositivo. Ovviamente trattasi di supposizioni e come tutti i brevetti non è detto che alla fine quanto descritto trovi un’applicazione pratica. Tuttavia ci sono forti indizi che “Centaurus” assomigli molto al device descritto nel brevetto.
Sicuramente nel corso dei prossimi mesi emergeranno nuovi particolari di questo prodotto. Ad ottobre Microsoft è solita tenere un evento dedicato ai Surface e quell’appuntamento potrebbe essere l’occasione giusta per introdurre questo nuovo dispositivo.
In realtà, in origine la società stava lavorando ad un dispositivo dual screen tascabile, noto con Andromeda. Ma questo sviluppo è stati poi interrotto per puntare su di un prodotto dalle dimensioni più generose.
“Centaurus” sarà anche uno dei primi dispositivi a disporre di Windows Lite, una particolare versione “alleggerita” di Windows 10 pensata proprio per i dispositivi di nuova generazione con diverse tipologie di forme. Un sistema operativo che in qualche modo dovrebbe entrare in diretta concorrenza con Chrome OS.
